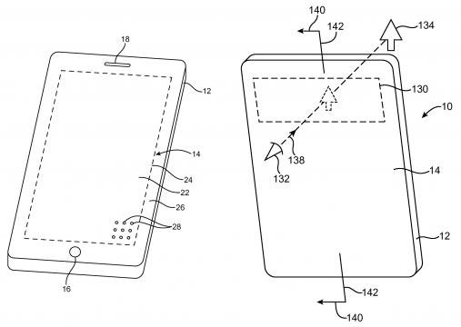
Pannello con fotocamera, sensori e speaker sotto il display OLED
Il brevetto di Apple per il prossimo iPhone
iPhone 8, Apple brevetta un dispositivo edge-to-edge
Micro-fori all'interno del display OLED
1 di 4

Photogallery - iPhone 8: Apple presenta nuovo brevetto per un display OLED con micro-fori