Questa mattina è stato accettato dal US Patent and Trademark Office (USPTO) un nuovo brevetto, No. 9.543.364, depositato da Apple nel febbraio 2015. Il brevetto descrive un dispositivo elettronico con un display caratterizzato da micro-fori e stando a quanto dichiarato rappresenterà il punto di forza del prossimo iPhone 8, e consentirà alla azienda californiana di surclassare i rivali Android.

L'invenzione della compagnia di Cupertino consentirebbe di integrare tutti i componenti della faccia anteriore, come speaker, Touch ID e fotocamera FaceTime di iPhone, direttamente nel display, permettendo alla società di progettare uno smartphone a tutti gli effetti edge-to-edge.

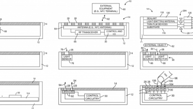
Come indicato anche i sensori dello schermo di iPhone 8 saranno integrati nel nuovo display OLED di Apple, nascosti sotto una copertura in vetro o una porzione inattiva del display stesso.

Apple pensa alla realtà aumentata

Una serie di micro-fori posti tra i singoli pixel permetterebbe ai sensori sottostanti di raccogliere immagini (fotocamera), luce ambientale, onde radio (WiFi, Bluetooth e NFC) e segnali acustici (microfono e altoparlante). Questi fori microscopici sarebbero inoltre invisibili ad occhio nudo, in modo da non modificare la nitidezza e la chiarezza dello schermo. La nuova tecnologia avrebbe sicuramente bisogno di un display OLED per funzionare, in quanto il tradizionale LCD richiederebbe uno strato di retroilluminazione sotto lo schermo, dove Apple dovrebbe implementare sensori e altri componenti.

Al contrario, questo sistema potrebbe essere realizzato da un pannello di vetro posto sul retro di un display OLED trasparente.

I micro-fori consentirebbero all'iPhone 8 di sfruttare questo rivestimento per catturare immagini circostanti, quindi proiettare le immagini su un display secondario. In parole povere, la compagnia di Cupertino si starebbe proiettando verso la realtà aumentata, il cui esordio è previsto entro i prossimi due anni. Quel che è certo è che con questo nuovo brevetto Apple sarebbe in grado di realizzare un dispositivo edge-to-edge senza dover incrementare ancora le dimensioni del device stesso, inserendo le varie componenti all'interno del display stesso.

iPhone 8 con display OLED a tutto schermo

La stessa cosa è stata recentemente fatta da Xiaomi con il MI Max, il quale presenta un display AMOLED da 6.4 pollici inserito all'interno di un chassis da 5.7 pollici. Xiaomi ha avuto successo nella realizzazione di questo dispositivo grazie all'utilizzo del sistema acustico in ceramica piezoelettrica per le chiamate telefoniche, sostituendo il sensore di prossimità con un tecnologia apposita e implementando il tasto Home direttamente nello schermo. Vedremo se anche Apple riuscirà a replicare quanto fatto dall'azienda cinese nell'anno del decimo anniversario del primo iPhone.